Carriers and Cargo Hauling for 2008 Chrysler PT Cruiser
No.
Part # / Description / Price
Price
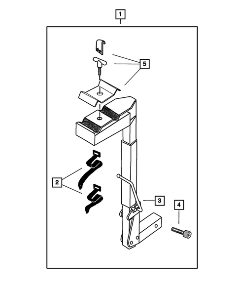
1
Bike Carrier Kit
Mopar
Mopar Description: 2.0 inch Receiver. Requires 1 1/4 inch Hitch Receiver. Two Bike. 1.25 inch Receiver. 1-1/4 inch Receiver Requried. 1-1/4 inch Receiver Required.
2
Velcro Strap Kit
Mopar
Mopar Description: Contains: 1 Long and 1Short. Contains: 1-Long & 1-Short Strap. Consists of: 1- Long and 1- Short.
3
Bike Carrier Latch Strap Kit
Mopar
Mopar Description: Consists of: 2 Ruber Straps. Contains. 2 Rubber Straps. Consists of: 1- Rubber Strap. Consists of : Two Rubber Straps. Consists of: 2 - Rubber Straps.
4
Bicycle Rack
Mopar
Mopar Description: Bike Carrier Handle. 1.25 inch Receiver Contains: Bolt. Used with 1.25 inch receiver. Consists of: Security Bolt and Wrench. Contains: Security Bolt, Security Wrench, Washer And Nut. Consists of: 1- Security Bolt, 1- Security Wrench, 1- Washer, 1- Nut. For 1.25 inch Receiver.
5
Bike Carrier Hardware Kit
Mopar
Mopar Description: Consists of: T-Handle, Lock Strap, Top Clamp Assy. Contains: T-Handle, Lock Strap, Top Clamp Assy.,Nylon Washer.
No.
Part # / Description / Price
Price
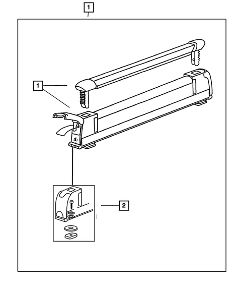
1
Ski Carrier Kit
Mopar
Mopar Description: Holds 3 Pairs of Skis or 2 Snow Boards. 3 Pair or 2 Snowboards. 3 Pair Skis, 2 Snowboards.
2
Accessory Hardware Kit
Mopar
Mopar Description: Contains: 4-25MM Screws,4-16MM Screws,4-20MM Screws,4-Lockwashers 4-Flat Washer,4-T-Plates & 4-Rubber Washers. Contains: 4-25MM Screws, 4-16MM Screws, 4-20MM Screws, 4-Lock Washers, 4-Flat Washers, 4-T-Plates And 4- Rubber Washers.
No.
Part # / Description / Price
Price
1
Bike Carrier Kit
Mopar
Mopar Description: Upright Style. Fork Mount. Upright - Mount. With Sport Utility Bar.
MSRP $303.00
$32.16
MSRP $303.00
$32.16
2
Accessory Hardware Kit
Mopar
Mopar Description: Contains: T-Slot Anchors and Bar, Screws, Lockwashers and Dome Washers. Contains: 2-T-Slot Anchors, 1-Rear Bar T-Slot, 4-Button Head Screws, 2-Lock Washers and 4-Dome Wahsers. Contains: 2-Anchors, 1-Rr T-Slot Bar, 4-Screws, 2-Lockwashers and 4-Washers. Con ...
No.
Part # / Description / Price
Price
2
Accessory Hardware Kit
Mopar
Mopar Description: Contains: 4-25MM Button Head Screws,4-30MM Button Head Screws,4-Lockwahsers, 4-Dome Washer, 4-Rubber Washers,4-T-Nuts. Contains: 8-Screws,8-Washers,4-T-Nuts. Consists of: 4-25mm Screws, 12 Washers, 4 T-Nuts. Consists of: 4- 25MM Button Head Screws, 4- 30MM ...
No.
Part # / Description / Price
Price
2
Accessory Hardware Kit
Mopar
Mopar Description: Contains: 4-25MM Button Head Screws,4-30MM Button Head Screws,4-Lockwahsers, 4-Dome Washer, 4-Rubber Washers,4-T-Nuts. Contains: 8-Screws,8-Washers,4-T-Nuts. Consists of: 4-25mm Screws, 12 Washers, 4 T-Nuts. Consists of: 4- 25MM Button Head Screws, 4- 30MM ...
No.
Part # / Description / Price
Price
2
Accessory Hardware Kit
Mopar
Mopar Description: Contains: T-Slot Anchors and Bar, Screws, Lockwashers and Dome Washers. Contains: 2-T-Slot Anchors, 1-Rear Bar T-Slot, 4-Button Head Screws, 2-Lock Washers and 4-Dome Wahsers. Contains: 2-Anchors, 1-Rr T-Slot Bar, 4-Screws, 2-Lockwashers and 4-Washers. Con ...





